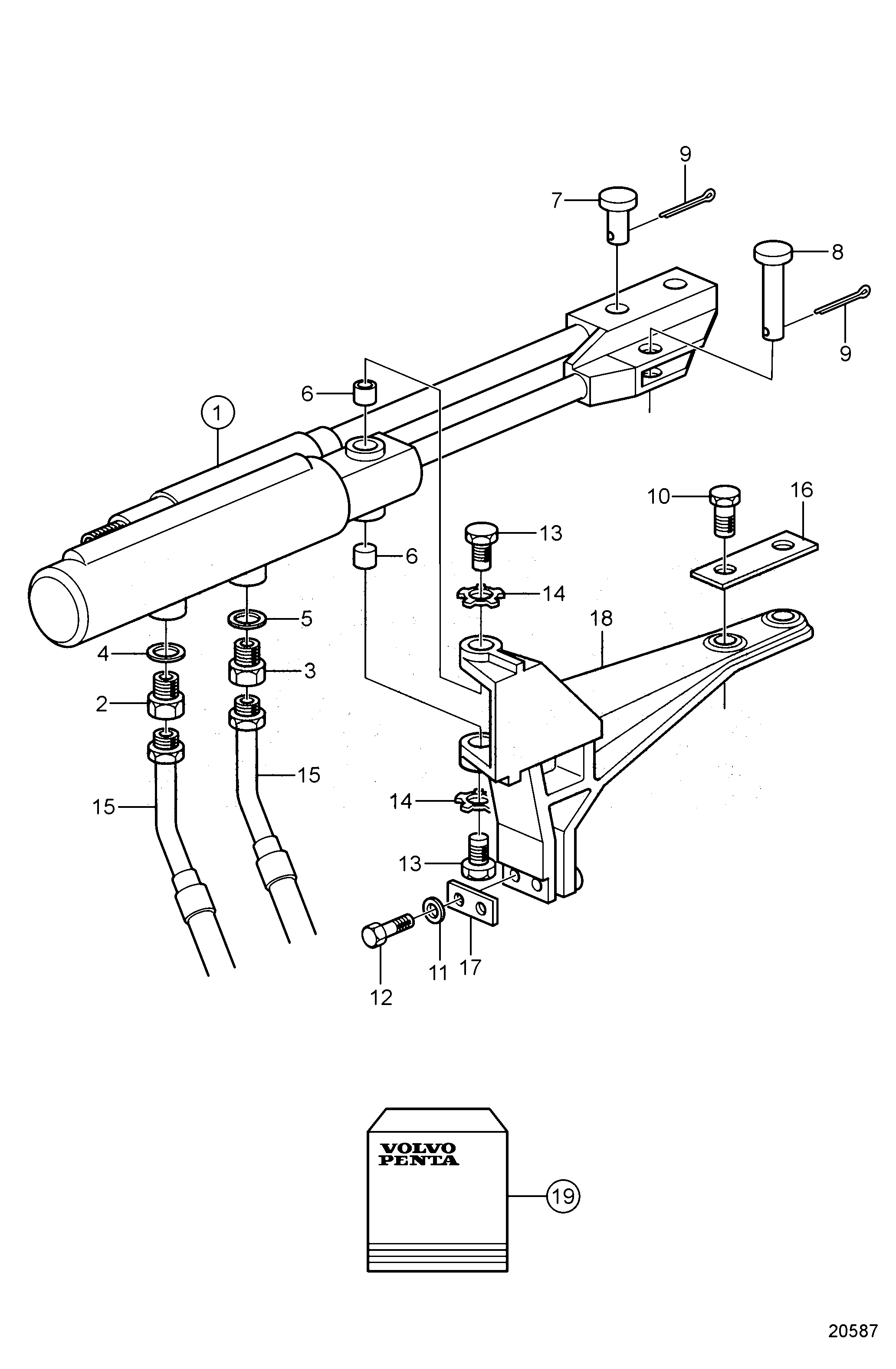
Усилитель руля для лодочных моторов Volvo Penta Трансмиссия TSK DP-E

Схема узла: Усилитель руля для лодочных моторов Volvo Penta Трансмиссия TSK DP-E
Купить запчасти: 872215, 872698, 872699, 955985, 955982, 872700, 872490, 872491, 949791, 977625, 941908, 965185, 872103, 872104, 872311, 872369, 872443, 872697.
Москва Санкт-Петербург Воронеж Краснодар Волгоград Ростов-на-Дону Махачкала Казань Ижевск Самара Тольятти Пермь Уфа Саратов Тюмень Екатеринбург Челябинск Красноярск Новосибирск Омск Барнаул Хабаровск
Меню
Звонок
Корзина
Поиск
Вход