Карбюраторы для квадроциклов Yamaha GRIZZLY 660 (YFM660FR) 2003г.

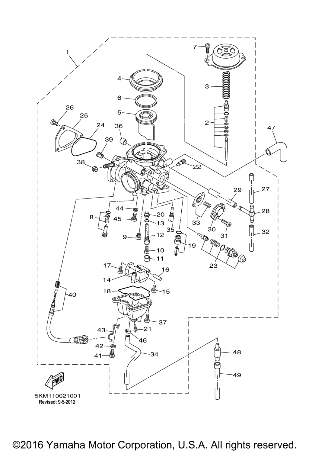
Схема узла Карбюраторы
1
Под заказ
Изображение товара Карбюратор в сборе
5KM-14901-10-00
Карбюратор в сборе
93 176 ₽
102 494 ₽
2
Под заказ
Изображение товара Игла
5KM-1490J-00-00
Игла
6 860 ₽
7 546 ₽
3
Под заказ
Изображение товара Пружина диафрагмы
4KM-14933-00-00
Пружина диафрагмы
3 187 ₽
3 506 ₽
4
В наличии
Изображение товара Диафрагма
5KM-24411-00-00
Диафрагма
8 498 ₽
9 348 ₽
5
Под заказ
Изображение товара Заслонка впуска
5KM-14912-00-00
Заслонка впуска
9 827 ₽
10 810 ₽
6
Под заказ
Изображение товара Кольцо
5KM-14918-00-00
Кольцо
1 295 ₽
1 425 ₽
7
Под заказ
Изображение товара Винт
98507-05008-00
Винт
8
Под заказ
Изображение товара Винт регулировочный
5EA-14105-00-00
Винт регулировочный
4 497 ₽
4 947 ₽
9
Под заказ
Изображение товара Жиклёр (#55)
3G2-14231-11-00
Жиклёр (#55)
2 116 ₽
2 328 ₽
10
Под заказ
Изображение товара Жиклёр главный (#153.8)
3G2-1423E-61-00
Жиклёр главный (#153.8)
1 880 ₽
2 068 ₽
11
Под заказ
Изображение товара Кольцо
5GH-14918-00-00
Кольцо
2 863 ₽
3 149 ₽
12
Под заказ
Изображение товара Корпус жиклёра
5GH-14261-00-00
Корпус жиклёра
6 318 ₽
6 950 ₽
13
В наличии
Изображение товара Кольцо уплотнительное
583-14561-00-00
Кольцо уплотнительное
2 410 ₽
2 651 ₽
14
Под заказ
Изображение товара Поплавок
5DM-14985-00-00
Поплавок
9 913 ₽
10 904 ₽
15
Под заказ
Изображение товара Винт
98507-04008-00
Винт
16
Под заказ
Изображение товара Ось поплавка
127-14186-00-00
Ось поплавка
1 047 ₽
1 152 ₽
17
Под заказ
Изображение товара Винт
1FN-14565-00-00
Винт
1 255 ₽
1 381 ₽
18
Под заказ
Изображение товара Кольцо уплотнительное
5DM-14561-00-00
Кольцо уплотнительное
1 330 ₽
1 463 ₽
19
Под заказ
Изображение товара Клапан уровня топлива
5KM-14190-30-00
Клапан уровня топлива
8 599 ₽
9 459 ₽
19
Под заказ
Изображение товара Клапан
2C6-14190-30-00
Клапан
8 449 ₽
9 294 ₽
20
Под заказ
Изображение товара Распылитель
5DM-14141-30-00
Распылитель
5 557 ₽
6 113 ₽
21
Под заказ
Изображение товара Пробка сливная
12R-14191-00-00
Пробка сливная
22
Под заказ
Изображение товара Жиклёр (#60)
1HX-14231-12-00
Жиклёр (#60)
2 069 ₽
2 276 ₽
23
Под заказ
Изображение товара Обогатитель
5KM-1410A-00-00
Обогатитель
10 337 ₽
11 371 ₽
24
Под заказ
Изображение товара Кольцо уплотнительное
4WV-14147-10-00
Кольцо уплотнительное
4 819 ₽
5 301 ₽
25
Под заказ
Изображение товара Крышка
4WV-14293-00-00
Крышка
1 217 ₽
1 339 ₽
26
Под заказ
Изображение товара Винт
98507-04008-00
Винт
27
Под заказ
Изображение товара Трубка
5KM-14197-20-00
Трубка
2 608 ₽
2 869 ₽
28
Под заказ
Изображение товара Тройник
28V-14988-00-00
Тройник
8 900 ₽
9 790 ₽
29
Под заказ
Изображение товара Трубка
3YX-14197-00-00
Трубка
29
Под заказ
Изображение товара . Pipe
3LF-14197-00-00
. Pipe
30
Под заказ
Изображение товара Крышка
5AP-14280-00-00
Крышка
6 909 ₽
7 600 ₽
31
Под заказ
Изображение товара Винт с шайбой
97607-04114-00
Винт с шайбой
795 ₽
875 ₽
32
Под заказ
Изображение товара Трубка
5KM-14197-10-00
Трубка
4 217 ₽
4 639 ₽
33
Под заказ
Изображение товара Диафрагма
5KM-1490H-00-00
Диафрагма
6 656 ₽
7 322 ₽
34
Под заказ
Изображение товара Трубка
5KM-14193-00-00
Трубка
5 066 ₽
5 573 ₽
35
Под заказ
Изображение товара Жиклёр (#40)
4KM-14142-40-00
Жиклёр (#40)
1 786 ₽
1 965 ₽
36
Под заказ
Изображение товара Колпачок
5KM-14968-00-00
Колпачок
1 174 ₽
1 291 ₽
37
Под заказ
Изображение товара Винт
98507-04010-00
Винт
38
Под заказ
Изображение товара Гайка
522-14161-00-00
Гайка
1 644 ₽
1 808 ₽
39
Под заказ
Изображение товара Втулка
1UY-14155-00-00
Втулка
2 843 ₽
3 127 ₽
40
Под заказ
Изображение товара Регулятор
5KM-14103-00-00
Регулятор
8 929 ₽
9 822 ₽
41
Под заказ
Изображение товара Винт
98507-04014-00
Винт
402 ₽
442 ₽
42
Под заказ
Изображение товара Шайба
92907-04600-00
Шайба
43
Под заказ
Изображение товара Скоба
5KM-14937-00-00
Скоба
4 446 ₽
4 891 ₽
44
Под заказ
Изображение товара Шайба
256-14956-01-00
Шайба
1 255 ₽
1 381 ₽
45
Под заказ
Изображение товара Винт
3DM-14216-00-00
Винт
1 255 ₽
1 381 ₽
46
Под заказ
Изображение товара Хомут
90467-06194-00
Хомут
474 ₽
521 ₽
47
Под заказ
Изображение товара Трубка
4WV-14349-00-00
Трубка
1 239 ₽
1 363 ₽
48
Под заказ
Изображение товара Трубка соединительная
24W-14193-00-00
Трубка соединительная
6 259 ₽
6 885 ₽
49
Под заказ
Изображение товара Трубка виниловая
91A20-07010-00
Трубка виниловая
1 055 ₽
1 161 ₽
49
Под заказ
Изображение товара Трубка виниловая
91A21-07020-00
Трубка виниловая
1 315 ₽
1 447 ₽
Схема узла: Карбюраторы для квадроциклов Yamaha GRIZZLY 660 (YFM660FR) 2003г.
Купить запчасти: 5KM-14901-10-00, 5KM-1490J-00-00, 4KM-14933-00-00, 5KM-24411-00-00, 5KM-14912-00-00, 5KM-14918-00-00, 98507-05008-00, 5EA-14105-00-00, 3G2-14231-11-00, 3G2-1423E-61-00, 5GH-14918-00-00, 5GH-14261-00-00, 583-14561-00-00, 5DM-14985-00-00, 98507-04008-00, 127-14186-00-00, 1FN-14565-00-00, 5DM-14561-00-00, 5KM-14190-30-00, 2C6-14190-30-00, 5DM-14141-30-00, 12R-14191-00-00, 1HX-14231-12-00, 5KM-1410A-00-00, 4WV-14147-10-00, 4WV-14293-00-00, 98507-04008-00, 5KM-14197-20-00, 28V-14988-00-00, 3YX-14197-00-00, 3LF-14197-00-00, 5AP-14280-00-00, 97607-04114-00, 5KM-14197-10-00, 5KM-1490H-00-00, 5KM-14193-00-00, 4KM-14142-40-00, 5KM-14968-00-00, 98507-04010-00, 522-14161-00-00, 1UY-14155-00-00, 5KM-14103-00-00, 98507-04014-00, 92907-04600-00, 5KM-14937-00-00, 256-14956-01-00, 3DM-14216-00-00, 90467-06194-00, 4WV-14349-00-00, 24W-14193-00-00, 91A20-07010-00, 91A21-07020-00.
Москва Санкт-Петербург Воронеж Краснодар Волгоград Ростов-на-Дону Махачкала Казань Ижевск Самара Тольятти Пермь Уфа Саратов Тюмень Екатеринбург Челябинск Красноярск Новосибирск Омск Барнаул Хабаровск
Меню
Звонок
Корзина
Поиск
Вход