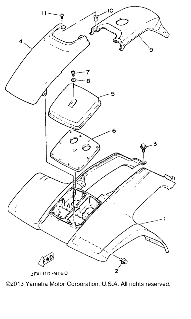
Передний крыло для квадроциклов Yamaha BREEZE (YFA1E) 1993г.

Схема узла: Передний крыло для квадроциклов Yamaha BREEZE (YFA1E) 1993г.
Купить запчасти: 3FA-W215D-11-00, 3FA-21511-10-00, 90119-06152-00, 901-19060-56-00, 90119-06063-00, 3FA-23391-30-00, 3FA-14422-00-00, 3FA-14422-10-00, 3FA-14461-00-00, 98517-05020-00, 98511-05020-00, 92990-05600-00, 92901-05600-00, 3FA-2171A-30-00, 3FA-W217A-30-00, 90179-05525-00, 90154-05052-00, 90154-05011-00.
Москва Санкт-Петербург Воронеж Краснодар Волгоград Ростов-на-Дону Махачкала Казань Ижевск Самара Тольятти Пермь Уфа Саратов Тюмень Екатеринбург Челябинск Красноярск Новосибирск Омск Барнаул Хабаровск
Меню
Звонок
Корзина
Поиск
Вход