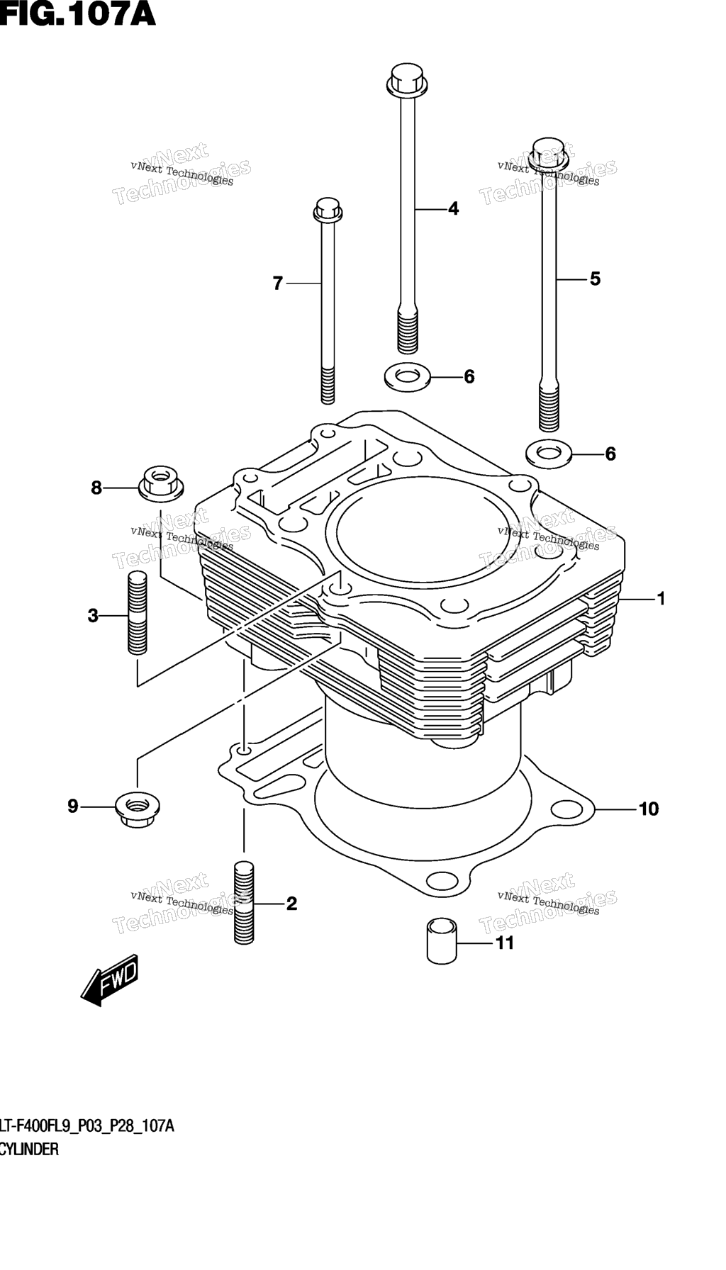
Цилиндры для квадроциклов Suzuki LT-F400FL9 2019г.

Схема узла: Цилиндры для квадроциклов Suzuki LT-F400FL9 2019г.
Купить запчасти: 11210-27H00-0F0, 01421-0620A, 09108-08142, 09103-10178, 09103-10321, 09160-10039, 09103-06167, 08316-1006A, 08316-1008A, 11241-38F00, 04211-13189.
Москва Санкт-Петербург Воронеж Краснодар Волгоград Ростов-на-Дону Махачкала Казань Ижевск Самара Тольятти Пермь Уфа Саратов Тюмень Екатеринбург Челябинск Красноярск Новосибирск Омск Барнаул Хабаровск
Меню
Звонок
Корзина
Поиск
Вход