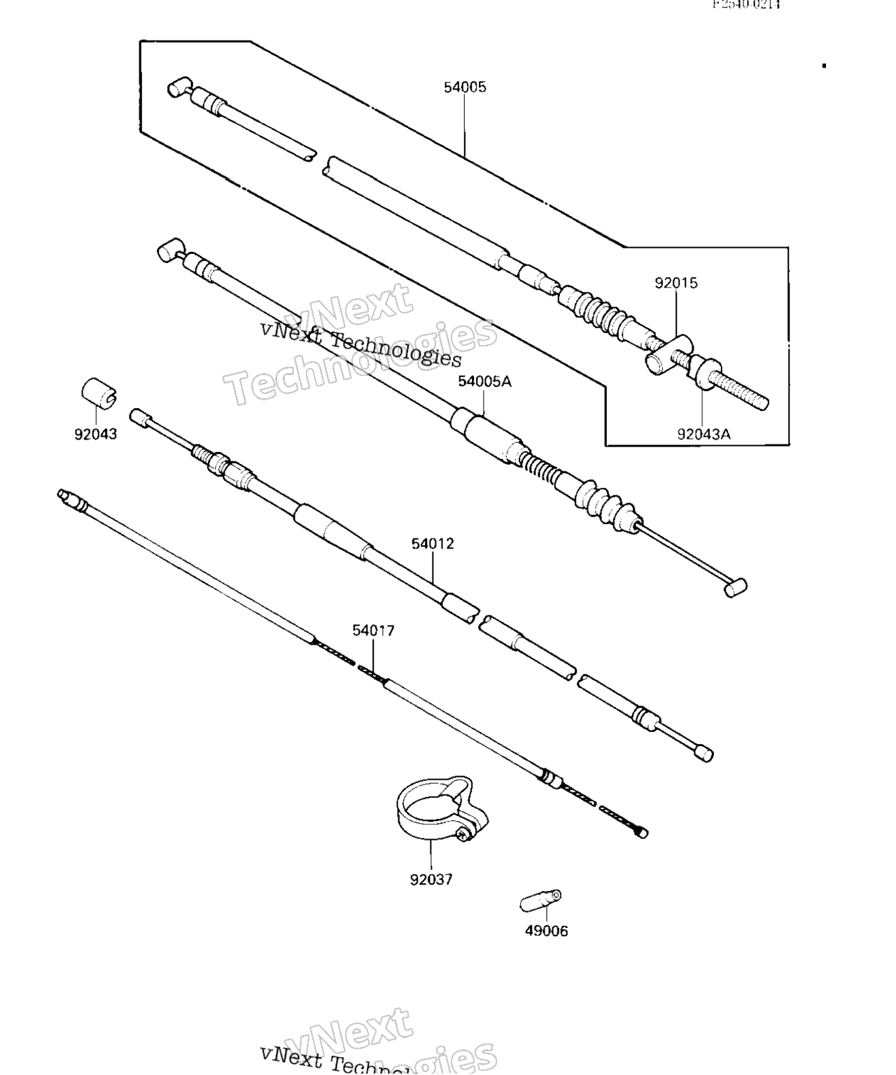
Кабели для квадроциклов Kawasaki KLT160 (KLT160-A1) 1985г.

Схема узла: Кабели для квадроциклов Kawasaki KLT160 (KLT160-A1) 1985г.
Купить запчасти: 49006-1084, 54005-1107, 54005-1104, 54012-1217, 54017-1055, 92015-4026, 92037-1548, 92043-4010, 92043-1225.
Москва Санкт-Петербург Воронеж Краснодар Волгоград Ростов-на-Дону Махачкала Казань Ижевск Самара Тольятти Пермь Уфа Саратов Тюмень Екатеринбург Челябинск Красноярск Новосибирск Омск Барнаул Хабаровск
Меню
Звонок
Корзина
Поиск
Вход