Fuel/water separator (b974978) для polaris slx pro 785 для гидроциклов Polaris SLX PRO 785 SLX PRO 785 B974978 1997 (General)

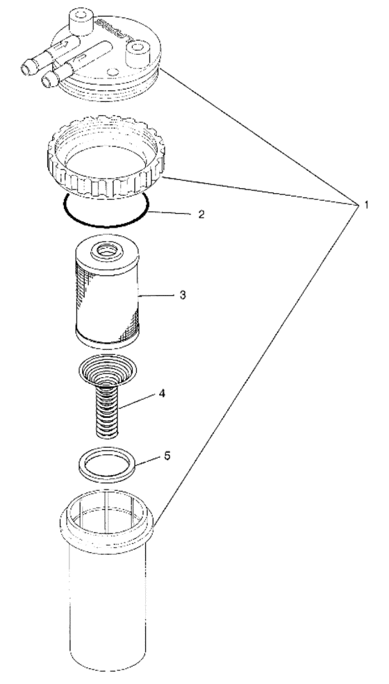
Схема узла: Fuel/water separator (b974978) для polaris slx pro 785 для гидроциклов Polaris SLX PRO 785 SLX PRO 785 B974978 1997 (General)
Купить запчасти: 3240220, 3240209, 3240239, 3240238, 3240240.
Москва Санкт-Петербург Воронеж Краснодар Волгоград Ростов-на-Дону Махачкала Казань Ижевск Самара Тольятти Пермь Уфа Саратов Тюмень Екатеринбург Челябинск Красноярск Новосибирск Омск Барнаул Хабаровск
Меню
Звонок
Корзина
Поиск
Вход