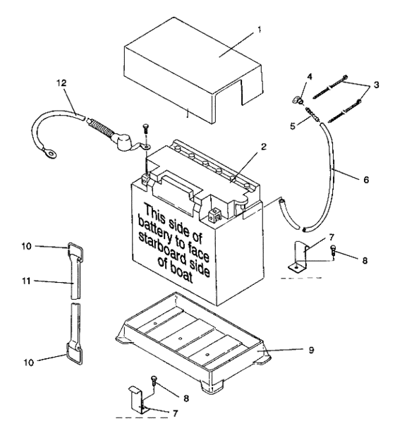
Аккумулятор (sl 750 / b934070) для polaris sl 750 для гидроциклов Polaris SL 750 SL 750 B934070 1993 (General)

Схема узла: Аккумулятор (sl 750 / b934070) для polaris sl 750 для гидроциклов Polaris SL 750 SL 750 B934070 1993 (General)
Купить запчасти: 5710037, 4140009, 7080483, 5410682, 7052078, 8360009-600, 5521087, 5222739, 7512043, 5431559, 5224472, 5430621, 4010080.
Москва Санкт-Петербург Воронеж Краснодар Волгоград Ростов-на-Дону Махачкала Казань Ижевск Самара Тольятти Пермь Уфа Саратов Тюмень Екатеринбург Челябинск Красноярск Новосибирск Омск Барнаул Хабаровск
Меню
Звонок
Корзина
Поиск
Вход