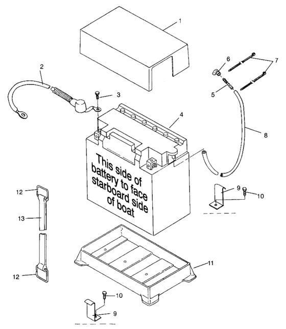
Аккумулятор (sl 700 b964066 and intl. sl 700 i964066) для polaris sl 700 для гидроциклов Polaris SL 700 SL 700 B964066 1996 (General)

Схема узла: Аккумулятор (sl 700 b964066 and intl. sl 700 i964066) для polaris sl 700 для гидроциклов Polaris SL 700 SL 700 B964066 1996 (General)
Купить запчасти: 5710037, 4010080, 2200619, 4140009, 7052078, 5410682, 7080483, 5432121, 5222739, 7512043, 5431559, 5224472, 5410853.
Москва Санкт-Петербург Воронеж Краснодар Волгоград Ростов-на-Дону Махачкала Казань Ижевск Самара Тольятти Пермь Уфа Саратов Тюмень Екатеринбург Челябинск Красноярск Новосибирск Омск Барнаул Хабаровск
Меню
Звонок
Корзина
Поиск
Вход