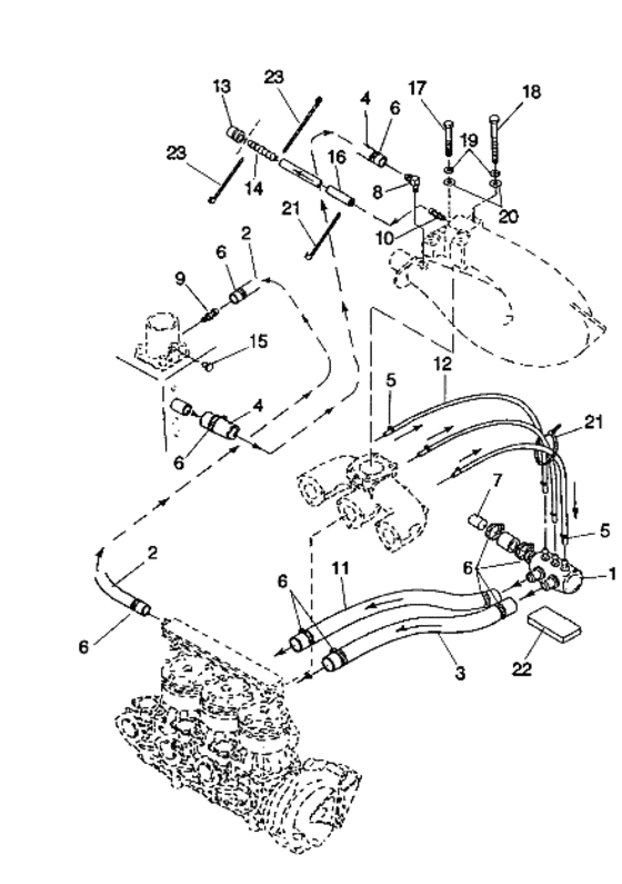
Система охлаждения (sl 650/b924058) для polaris sl 650 для гидроциклов Polaris SL 650 SL 650 B924058 1992 (General)

Схема узла: Система охлаждения (sl 650/b924058) для polaris sl 650 для гидроциклов Polaris SL 650 SL 650 B924058 1992 (General)
Купить запчасти: 5130890, 5410655, 5410656, 5410657, 7080474, 7080475, 5020655, 7052084, 7052071, 7052074, 8450050, 2871060, 5410714, 7052072, 7051522, 2871061, 7517002, 7517003, 7552611, 7555856, 7080138, 5810729, 7080483.
Москва Санкт-Петербург Воронеж Краснодар Волгоград Ростов-на-Дону Махачкала Казань Ижевск Самара Тольятти Пермь Уфа Саратов Тюмень Екатеринбург Челябинск Красноярск Новосибирск Омск Барнаул Хабаровск
Меню
Звонок
Корзина
Поиск
Вход